Испытание изоляции электрооборудования повышенным напряжением

    07.07.2010

    Испытания изоляции повышенным напряжением производятся для обнаружения сосредоточенных дефектов в изоляции электрооборудования, не выявленных в предварительных испытаниях из-за недостаточного уровня напряженности электрического поля. Испытание повышенным напряжением является основным испытанием, после которого выносится окончательное суждение о возможности нормальной работы оборудования в условиях эксплуатации.


    Испытание повышенным напряжением обязательно для электрооборудования напряжением 35 кВ и ниже, а при наличии испытательных устройств - и для оборудования напряжением выше 35 кВ, за исключением случаев, оговоренных нормами.


    Изоляторы и оборудование с номинальным напряжением, превышающим номинальное напряжение установки, в которой они эксплуатируются, могут испытываться повышенным напряжением по нормам, установленным для класса изоляции данной установки.


    Установленный уровень испытательных напряжений соответствует пробивным напряжениям изоляции при наличии в них сосредоточенных дефектов.


    Уровень испытательных напряжений электрооборудования при вводе его в эксплуатацию ниже заводских испытательных напряжений и составляет 0,9•Uисп.зав. Это объясняется тем, что в процессе испытаний нецелесообразно развивать незначительные, не влияющие на нормальную работу дефекты до опасных, которые, уменьшая электрическую прочность, могут проявиться в процессе эксплуатации.


    В качестве испытательного обычно используется напряжение промышленной частоты 50 Гц. Время продолжительности приложения испытательного напряжения ограничивается во избежание появления дефектов в изоляции и преждевременного старения ее от 1 мин до 5 мин.


    При испытании изоляции крупных электрических машин, тяг выключателей, разрядников, силовых кабелей напряжением свыше 1 кВ в качестве испытательного используется выпрямленное напряжение.
    Основным недостатком испытания выпрямленным напряжением является неравномерное распределение напряжения по толщине изоляции (из-за неоднородности) в зависимости от проводимости отдельных частей ее.

     

    Однако испытание выпрямленным напряжением имеет и преимущества:
    1.Выпрямленное напряжение менее опасно для изоляции (пробивное выпрямленное напряжение выше, чем переменное, в среднем в 1.5 раза).
    2. У машин распределение напряжения вдоль изоляции обмотки более равномерно при выпрямленном напряжении, благодаря чему одинаково испытываются низовые и лобовые части ее.
    3. Требуемая мощность выпрямительных установок высокого напряжения значительно меньше, чем установок переменного напряжения, благодаря чему передвижные установки всегда менее громоздки и поэтому более портативны и представляется возможным проводить испытание объектов с большой емкостью (кабелей конденсаторов и др.).


    Кроме того, при таких испытаниях имеется возможность измерения токов утечки, являющихся дополнительным критерием оценки состояния изоляции. Испытания изоляции выпрямленным напряжением более продолжительны, чем испытания переменным напряжением, и составляют от 10 до 20 мин.


    В тех случаях, когда испытание изоляции производится как переменным, так и выпрямленным напряжением, испытание выпрямленным напряжением должно предшествовать испытанию переменным напряжением.
    Испытание изоляции электрооборудования повышенным напряжением проводится после предварительного осмотра и проверки состояния изоляции с помощью мегаомметра и других косвенных дополнительных методов (измерения tgδ, ΔС/С, С2/С50) при положительных результатах этой проверки. Испытательное напряжение и продолжительность испытания для каждого вида оборудования определяется установленными нормами.

     

    Испытания повышенным напряжением в общем случае проводятся по схеме представленной на рис. 1.1.
    Скорость повышения напряжения до одной трети испытательного значения может быть произвольной, в дальнейшем испытательное напряжение следует повышать плавно, со скоростью, допускающей визуальный отсчет на измерительных приборах. После установленной продолжительности испытания напряжение плавно снижается до значения, не превышающего одной трети испытательного, и отключается. Резкое снятие напряжения допускается только в случаях обеспечения безопасности людей или сохранности электрооборудования.
    Для предотвращения недопустимых перенапряжений при испытаниях (из-за высших гармонических составляющих в кривой испытательного напряжения) испытательная установка должна быть включена по возможности на линейное напряжение сети (наиболее опасная третья гармоника в линейном напряжении отсутствует).
    Испытательное напряжение как правило измеряют на стороне низкого напряжения. Исключения составляют ответственные испытания изоляции генераторов, крупных электродвигателей и т. д.

     

    Рис. 1.1. Схема испытания изоляции электрооборудования повышенным напряжением переменного тока.
    1 - автоматический выключатель; 2 - регулировочная колонка; 3, 10 - вольтметр; 4 - амперметр для измерения тока на стороне низкого напряжения; 5 - трансформатор испытательный; 6 - миллиамперметр для измерения тока утечки испытуемой изоляции; 7 - кнопка, шунтирующая милиамперметр для его защиты от перегрузки; 8 - трансформатор напряжения; 9 - резистор для ограничения тока в испытательном трансформаторе при пробоях в испытуемой изоляции (1-2 Ом на 1 В испытательного напряжения); 11 - то же для ограничения коммутационных перенапряжений на испытуемой изоляции при пробое разрядника (1 Ом на 1 В испытательного напряжения); 12- разрядник; 13 - испытуемый объект.

    Существенное влияние на испытания может оказывать емкость испытываемого объекта. Так для объектов с большой емкостью испытательное напряжение может превышать нормированное из-за емкостной вольтодобавки. Также емкость оказывает существенное влияние на выбор мощности испытательной установки, которая определяется


    где С - емкость испытываемой изоляции, пФ; Uисп - испытательное напряжение, кВ; ω - угловая частота испытательного напряжения (ω = 2πf).
    Ориентировочная емкость некоторых объектов испытания приведена в табл. 1.1.
    Мощность испытательной установки корректируется с учетом номинального напряжения испытательного трансформатора

     

    Таблица 1.1. Ориентировочная емкость электрооборудования

    Наименование электрооборудования

    Емкость одной фазы, пФ

    Турбогенераторы мощностью, Мвт
    от 15 до 150
    от 150 до 300

    100000-300000
    300000-500000

    Силовые трансформаторы (обмотки низкого напряжения)

    1000-25000

    Электрические двигатели мощностью, кВ А
    до 100
    свыше 100

    1000-10000
    10000-100000

    Вводы трансформаторов и масляных выключателей напряжением, кВ
    до 220
    от 330 до 500

    50-300
    800-1300

    Трансформаторы напряжения и тока

    100-1000

     

     


    Рис. 1.2. Схемы удвоения испытательного напряжения.
    ИПТ - изолирующий промежуточный трансформатор; НОМ - трансформатор напряжения однофазный; а)испытываемая изоляция изолированы от корпуса.

     

    В случае, если необходимая мощность для испытания превышает мощность имеющихся в наличии трансформаторов прибегают к снижению ее за счет компенсации емкостного тока нагрузки испытываемой изоляции. Компенсация осуществляется индуктивностью (дугогасящий реактор, специально изготовленный дроссель), подключаемой параллельно испытываемой изоляции.
    Если номинальное напряжение испытательной установки меньше необходимого нормированного испытательного напряжения, то используют схемы последовательного включения двух испытательных трансформаторов (или измерительных трансформаторов напряжения). Возможные схемы включения представлены на рис. 1.2. При использовании трансформаторов напряжения НОМ допускается повышение напряжения на первичной обмотке измерительного трансформатора до 150-170% от номинального напряжения.
    Для защиты от случайных опасных повышений напряжения в испытательных установках предусматриваются защитные разрядники. Разрядник представляет собой два латунных шара диаметром до 10 см, смонтированных на бакелитовых стойках. Один шар закреплен неподвижно, а второй может перемещаться по направляющим основания. В зависимости от необходимого напряжения пробоя с помощью микрометрического винта устанавливается расстояние между шарами. Напряжение пробоя воздушного промежутка между шарами не должно превышать 10-15% от величины нормированного испытательного напряжения.
    Для предохранения поверхности шаров от сгорания при пробоях, последовательно с ними включается безиндукционные резисторы (фарфоровые или стеклянные, заполненные водой) 2-20 кОм.
    При проведении испытаний необходимо исключить возможность перекрытия по воздуху изоляции на заземленные части испытываемого объекта и частей, находящихся под рабочим напряжением (см. табл. 1.2).

     

    Таблица 1.2. Минимально допустимые расстояния по воздуху при испытаниях

    Испытательное
    напряжение, кВ

    Расстояние, см

    до заземленных
    частей

    до частей установки, находящихся под напряжением, кВ

    до 10

    35

    110

    154

    220

    400

    20

    5

    25

     

     

     

     

     

    30

    10

    25

     

     

     

     

     

    40

    20

    30

     

     

     

     

     

    50

    25

    30

    50

    110

    150

    210

     

    60

    30

     

    55

    115

    155

    215

     

    70

    40

     

    60

    120

    160

    220

     

    80

    45

     

    65

    120

    160

    220

     

    90

    50

     

    70

    125

    165

    225

     

    100

    60

     

    75

    130

    170

    230

    390

    150

    80

     

     

    150

    190

    250

    410

    200

    90

     

     

    170

    205

    265

    425

    250

    120

     

     

    190

    230

    290

    450

    300

    140

     

     

    215

    255

    310

    470

    350

    150

     

     

     

    270

    320

    480

    400

    180

     

     

     

    300

    330

    490

    450

    190

     

     

     

     

    350

    515

    500

    200

     

     

     

     

    370

    530

    550

    220

     

     

     

     

    390

    550

    600

    240

     

     

     

     

     

    570

    650

    260

     

     

     

     

     

    600

    700

    300

     

     

     

     

     

    615

    800

    360

     

     

     

     

     

    660

    900

    400

     

     

     

     

     

    710

     

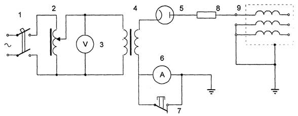
    Для испытания изоляции выпрямленным напряжением, как правило, применяется схема однополупериодного выпрямления (рис. 1.3).

     

    Рис. 1.3. Схема испытания изоляции электрооборудования выпрямленным напряжением.
    1 - автоматический выключатель; 2 - регулировочная колонка; 3 - вольтметр; 4-испытательный трансформатор; 5 - выпрямитель; 6 - миллиамперметр для измерения тока утечки испытуемой изоляции; 7 - кнопка, шунтирующая милиамперметр для его защиты от перегрузки; 8 - ограничительный резистор; 9 - испытуемый объект.

     

    Порядок проведения испытаний аналогичный испытаниям на переменном токе, кроме того дополнительно должен проводиться контроль за током утечки.
    Нагрузка испытательного трансформатора незначительна, т. к. она определяется потерями в сопротивлении изоляции постоянному току, поэтому при испытаниях можно использовать измерительный трансформатор напряжения. Измерение испытательного напряжения осуществляется, как правило, на стороне низкого напряжения испытательного трансформатора. Поэтому, при замерах необходимо учитывать коэффициент трансформации трансформатора, а окончательный результат умножить на J2 (т. к. выпрямленное напряжение определяется амплитудным значением, а вольтметр фиксирует эффективное значение приложенного напряжения).
    После испытания выпрямленным напряжением необходимо особенно тщательно разрядить объект испытания. Для снятия заряда с объекта испытания используются заземляющие штанги, в электрическую цепь которых включается сопротивление 5-50 кОм. В качестве последних для объектов, обладающих большой емкостью, применяют наполненные водой резиновые трубки. После разряда объекта испытания он должен быть наглухо заземлен.

     

    Установка АИИ-70, предназначена для испытания элегической прочности изоляции элементов электроустановок, в т.ч. силовых кабелей и жидких диэлектриков (трансформаторного масла) постоянным (выпрямленным) или переменным током высокого напряжения. Выпрямленное высокое напряжение - 70 кВ, переменное высокое - 50 кВ. Напряжение питающей сети 127, 220 В. Наибольший выпрямленный ток - 5 мА; выходная одноминутная мощность высоковольтного трансформатора 2 кВА. Время работы под нагрузкой (с кенотронной приставкой) - 10 мин.; интервал между включениями - 3 мин.; масса - 175 кг. В анодную сеть кенотрона включен блок микроамперметра с пределами измерения 200, 1000 и 5000 мкА. Испытательное напряжение измеряется вольтметром, включенным с низкой стороны трансформатора и проградуированным для эффективных значений (до 50 кВ) и максимальных значений (до 70 кВ). В кенотронный аппарат встроена защита (чувствительная и более грубая) от к.з. на стороне высокого напряжения. В комплект аппарата входят заземляющая штанга, предназначенная для снятия емкостного заряда с испытуемого объекта и его глухого заземления.
    Установки АИМ-80 обеспечивает получение испытательного напряжения до 80 кВ.
    В настоящее время применяются установки, в которых вместо кенотрона используются полупроводниковые высоковольтные выпрямители типа ВВК-0,05/140, ВВК-05/200 и др. Установка ВВК-0,05/140 имеет следующие технические характеристИки: максимальное выпрямленное напряжение - 70 кВ; максимальный выпрямленный ток 50 мА; максимальное обратное напряжение - 140 кВ. Габаритные размеры - диаметр 130 мм, высота 440 мм, масса 6 кг. Установка представляет собой набор диодов Д-1008 (10 кВ, 50 мА), зашунтированных конденсатором ПОВ (15 кВ) и помещенных в трубку из изоляционного материала.
    Универсальный аппарат ВЧФ-4-3 предназначен для испытания электрической прочности витковой изоляции обмоток электрических машин переменного и постоянного тока мощностью 0,1 - 100 кВт и больше; обмоток роторов турбогенераторов; полюсных катушек синхронных генераторов и машин постоянного тока; обмоток силовых трансформаторов 1, 11, Ш габаритов; обмоток трансформаторов тока. Напряжение питания 220 В, потребляемая мощность до 800 ВА; выходное (регулируемое) напряжение 3000 В.
    Передвижные электротехнические лаборатории на базе автошасси ГАЗ-51 (старые модели) ЭТЛ-10М предназначены для измерений и испытаний при приеме в эксплуатацию и при профилактическом обслуживании электроустановок напряжением до 10 кВ включительно, а также для сушки трансформаторного масла и электросварочных работ.

     

    ЭТЛ-35-02 на базе автошасси ГАЗ-66 предназначены для проведения полного комплекса измерительных и испытательных работ на оборудовании подстанций 35/10 кВ мощностью до б300 кВА и электростанций, воздушных и кабельных линий до 35 кВ, а также для определения мест повреждения в кабельных линиях напряжением до 10 кВ.


    Более современная из вышеперечисленных установок является лаборатория ЛВИ2Г, возможности и технические характеристики которой аналогичны передвижной лаборатории ЭТЛ-35-02.
    В состав передвижных лабораторий входят прожигательные установки ПКЛС-10, ПГУ.

     

    Сопротивление изоляции является важной характеристикой состояния изоляции электрооборудования. Поэтому измерение сопротивления производится при всех проверках состояния изоляции.
    Сопротивление изоляции измеряется мегаомметром. Широкое применение нашли электронные мегаомметры типа Ф4101, Ф4102 на напряжение 100, 500 и 1000 В. В наладочной и эксплуатационной практике до настоящего времени находят применение мегаомметры типов М4100/1 - М4100/5 и МС-05 на напряжение 100, 250, 500, 1000 и 2500 В. Погрешность прибора Ф4101 не превышает ±2,5%, а приборов типа М4100 - до 1% длины рабочей части шкалы. Питание прибора Ф4101 осуществляется от сети переменного тока 127-220 В или от источника постоянного тока 12 В. Питание приборов типа М4100 осуществляется от встроенных генераторов.


    Измерение изоляции осуществляется по схемам рис. 1.4.
    В случае, если результат измерения может быть искажен поверхностными токами утечки, на изоляцию объекта измерения накладывается электрод, присоединяемый к зажиму Э (экран) для исключения возможности прохождения токов утечки через рамку логометра, используемого в приборах в качестве измерительного органа. При измерении сопротивления изоляции кабеля таким экраном может служить металлическая оболочка кабеля.
    Перед началом измерения прибор необходимо проверить замыканием зажимов З и Л накоротко. Прибор должен показывать сопротивление 0, а при удаленной закоротке – сопротивление равно бесконечности. Непосредственно перед измерением объект измерения должен быть заземлен на 2 - 3 мин для снятия остаточных зарядов.
    При измерении абсолютного значения сопротивления изоляции электрооборудования ее токоведущая часть присоединяется проводами с усиленной изоляцией (типа ПВЛ) к выводу Л мегаомметра. Вывод 3 и корпус или конструкции, относительно которых производится измерение, надежно заземляют через общий контур заземления. Сопротивление изоляции определяется показанием стрелки мегаомметра, установившейся по истечении 60 с после подачи нормального напряжения.

    Рис. 1.4. Схемы измерения мегаомметром сопротивления изоляции 1. а - относительно земли; б - между токоведущими (стержнями); в - между токоведущими жилами при исключении влияния токов утечки.

     

    Значение сопротивления изоляции в большой степени зависит от температуры.
    Измерение следует производить при температуре изоляции не ниже +5°С, кроме случаев, оговоренных специально.

     

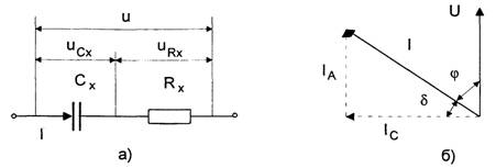
    Изоляция электрооборудования в общем случае может быть представлена эквивалентной схемой замещения (рис. 1.5,а). Ток, протекающий в изоляции (диэлектрике) под действием приложенного напряжения, представляется на векторной диаграмме (рис. 1.5,6) активной 1А и емкостной 1С составляющими. Потери мощности в изоляции (диэлектрические потери) существенно зависят от состояния изоляции и определяются: Р = U•IA = U•I•cosφ = U•IC•tgδ = C•U2•tgδ. Таким образом потери мощности Р пропорциональны tgδ (тангенсу угла диэлектрических потерь). Измерение tgδ используют для оценки состояния изоляции независимо от массогабаритных характеристик последней. Чем больше tgδ тем больше диэлектрические потери, тем хуже состояние изоляции.
    На практике tgδ измеряют в процентах.


    Значение tgδ нормируется для электрооборудования и зависит от температуры и величины прикладываемого напряжения. Измерение tgδ следует производить при температуре не ниже +10°С. Для приведения измеренных значений tgδ к необходимой температуре (например, температуре при измерениях на заводе) используют поправочные коэффициенты.


    Измерение tgδ производится мостами P5026, МД-16 и P595 на высоком (3 - 10 кВ) и низком напряжении. Для тангенса угла диэлектрических потерь справедливо отношение: tgδ = RХ/ХСХ = ω•RХ•СХ (см. рис. 1.5). При равновесии моста имеет место равенство: ω•Rх•Cх = ω•R4•C4 (см. рис. 1.6). Таким образом измеряемый tgδ пропорционален изменяющейся для уравновешивания моста емкости С4. На этом основан принцип измерения tgδ указанными выше мостами. В табл. 1.3 представлены пределы измерения мостов.


    Рис. 1.5. Эквивалентная схема замещения диэлектрика.
    а - схема замещения диэлектрика; б - векторная диаграмма.

     

    Таблица 1.3. Пределы измерения емкости измерительных мостов

    Тип моста

    Пределы измерения емкости, мкФ, при напряжении, кВ

    3-10

    0,1

    Р5026

    10-2 - 103

    0,65 - 5·105

    МД-16

    0,3·10-4 - 0,4

    0,3·10-3 - 100

    Р595

    1 - 10-5

    102 - 3·104

     

    На рис. 1.6 представлена нормальная (прямая) схема включения измерительных мостов. Данная схема включения используется при измерениях на объектах, у которых оба электрода изолированы от земли. Применяется также перевернутая (обратная) схема включения мостов, в которой зажимы моста для заземления и подачи напряжения меняются местами. Перевернутая схема менее точна, чем нормальная. Однако, измерения tgδ изоляции трансформаторов, а также установленных на оборудовании вводов могут производится только по перевернутой схеме, т. к. один из электродов в этих случаях заземлен.


    Значение tgδ изоляции измеряют при напряжении, равном номинальному напряжению объекта измерения, но не выше 10 кВ. При номинальном напряжении объекта менее 6 кВ измерения производят на напряжении 220 - 380 В. Измерения производят при удовлетворительных результатах оценки состояния изоляции с помощью мегаомметра и другими способами и удовлетворительных результатах испытаний пробы масла маслонаполненных аппаратов. Измерения при сушке изоляции производят на напряжении 220 - 380 В. Результаты измерений tgδ сравнивают с допустимыми нормами и результатами предыдущих измерений, в том числе заводских.


    В качестве испытательного трансформатора используют трансформаторы напряжения НОМ-6 или НОМ-10. Трансформатор подключается по схеме рис. 1.7. Для обеспечения точности измерения мост и вспомогательное оборудование, необходимое для измерения, располагаются в непосредственной близости от проверяемого объекта (рис. 1.8), т. к. мост учитывает потери в соединительном проводе.


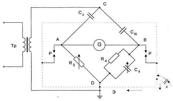
    Рис. 1.6. Нормальная (прямая) схема включения моста переменного тока.
    Tp - испытательный трансформатор; СN - образцовый конденсатор; СХ - испытываемый объект;
    G - гальванометр; R3 - переменный резистор; R4 - постоянный резистор; С4 - магазин емкостей.

     

    На результаты измерений существенное влияние оказывают паразитные токи, обусловленные внешними магнитными и электростатическими полями и утечками по поверхности проверяемых изоляторов. Для исключения влияния магнитных и электростатических полей в мостах осуществлено экранирование, а поверхностных токов утечки - наложением охранного кольца на измеряемый объект. Паразитные токи существенно влияют на результаты измерений тангенса угла диэлектрических потерь объектов с малой емкостью (вводы, измерительные трансформаторы, конденсаторы связи). На результаты измерения tgδ изоляции силовых трансформаторов они влияют незначительно, т. к. последние обладают достаточно большой емкостью, а токи измерения существенно превышают паразитные токи.


    Для уменьшения влияния паразитных токов необходимо надежное заземление корпусов проверяемого объекта, испытательного трансформатора, моста, регулировочного автотрансформатора. На практике, для учета влияния паразитных токов, производят четыре измерения tgδ изоляции при разных полярностях подаваемого на схему напряжения и включения гальванометра.

     

    Основными методами измерения сопротивления постоянному току являются: косвенный метод; метод непосредственной оценки и мостовой метод.

     

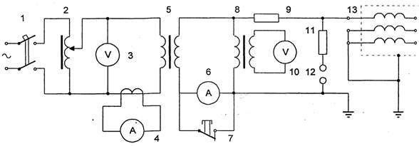
    Рис. 1.7. Схема включения испытательного трансформатора при измерении tgδ.
    1 - рубильник; 2 - регулировочный автотрансформатор; 3 - вольтметр; 4-переключатель полярности выводов испытательного трансформатора 5.

     

     

    Рис. 1.8. Схема расположения аппаратов при измерении.
    ОИ - объект измерения; С - образцовый конденсатор; Т - испытательный трансформатор; М - мост; РАТ-регулировочный автотрансформатор; 0 - переносное ограждение.

     

    Выбор метода измерений зависит от ожидаемого значения измеряемого сопротивления и требуемой точности.
    Наиболее универсальным из косвенных методов является метод амперметравольтметра.
    Метод амперметра-вольтметра. Основан на измерении тока, протекающего через измеряемое сопротивление и падения напряжения на нем. Применяют две схемы измерения: измерение больших сопротивлений (рис. 1.9,а) и измерение малых сопротивлений (рис. 1.9,б). По результатам измерения тока и напряжения определяют искомое сопротивление.


    Для схемы рис. 1.9,а искомое сопротивление и относительная методическая погрешность измерения определяются


    где RХ - измеряемое сопротивление; Rа - сопротивление амперметра.
    Для схемы рис. 1.9,6 искомое сопротивление и относительная методическая погрешность измерения определяются


    где Rв -сопротивление вольтметра.
    Из определения относительных методических погрешностей следует, что измерение по схеме рис. 1.9,а обеспечивает меньшую погрешность при измерении больших сопротивлений, а измерение по схеме рис. 1.9,6 - при измерении малых сопротивлений.
    Погрешность измерения по данному методу рассчитывается по выражению

    где γв, γа, - классы точности вольтметра и амперметра; U„, I пределы измерения вольтметра и амперметра.
    Используемые при измерении приборы должны иметь класс точности не более 0,2. Вольтметр подключают непосредственно к измеряемому сопротивлению. Ток при измерении должен быть таким, чтобы показания отсчитывались по второй половине шкалы. В соответствии с этим выбирается и шунт, применяемый для возможности измерения тока прибором класса 0,2. Во избежании нагрева сопротивления и, соответственно, снижения точности измерений, ток в схеме измерения не должен превышать 20% номинального.

     


    Рис. 1.9. Схема измерения больших (а) и малых (б) сопротивлений методом амперметра-вольтметра.

     

    Рекомендуется проводить 3 - 5 измерений при различных значениях тока. За результат, в данном случае, принимается среднее значение измеренных сопротивлений.


    При измерениях сопротивления в цепях, обладающих большой индуктивностью, вольтметр следует подключать после того как ток в цепи установится, а отключать до разрыва цепи тока. Это необходимо делать для того, чтобы исключить возможность повреждения вольтметра от ЭДС самоиндукции цепи измерения.


    Метод непосредственной оценки. Предполагает измерение сопротивления постоянному току с помощью омметра. Измерения омметром дают существенные неточности. По этой причине данный метод используют для приближенных предварительных измерений сопротивлений и для проверки цепей коммутации. На практике применяют омметры типа М57Д, М4125, Ф410 и др. Диапазон измеряемых сопротивлений данных приборов лежит в пределах от 0,1 Ом до 1000 кОм.


    Для измерения малых сопротивлений, например сопротивление паек якорных обмоток машин постоянного тока, применяют микроомметры типа М246. Это приборы логометрического типа с оптическим указателем, снабженные специальными самозачищающими щупами.


    Также для измерения малых сопротивлений, например переходных сопротивлений контактов выключателей, нашли применение контактомеры.  Контактомеры Мосэнерго имеют пределы измерения 0 - 50000 мкОм с погрешностью менее 1,5%. Контактомеры КМС-68, КМС-63 позволяют производить измерения в пределах 500-2500 мкОм с погрешностью менее 5%.


    Для измерения сопротивления обмоток силовых трансформаторов, генераторов с достаточно большой точностью применяют потенциометры постоянного тока типа ПП-63, КП-59. Данные приборы используют принцип компенсационного измерения, т. е. падение напряжения на измеряемом сопротивлении уравновешивается известным падением напряжения.


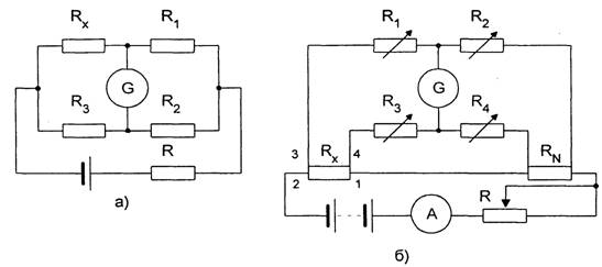
    Мостовой метод. Применяют две схемы измерения - схема одинарного моста и схема двойного моста. Соответствующие схемы измерения представлены на рис. 1.10.


    Для измерения сопротивлений в диапазоне от 1 Ом до 1 МОм применяют одинарные мосты постоянного тока типа ММВ, Р333, МО-62 и др. Погрешность измерений данными мостами достигает 15% (мост ММВ). В одинарных мостах результат измерения учитывает сопротивление соединительных проводов между мостом и измеряемым сопротивлением. Поэтому сопротивления меньше 1 Ом такими мостами измерить нельзя из-за существенной погрешности. Исключение составляет мост P333, с помощью которого можно производить измерение больших сопротивлений по двухзажимной схеме и малых сопротивлений (до 5 10 Ом) по четырехзажимной схеме. В последней почти исключается влияние сопротивления соединительных проводов, т. к. два из них входят в цепь гальванометра, а два других - в цепь сопротивления плеч моста, имеющих сравнительно большие сопротивления.

     


    Рис. 1.10. Схемы измерительных мостов.
    а - одинарного моста; б - двойного моста.

     

    Плечи одинарных мостов выполняют из магазинов сопротивлений, а в ряде случаев (например, мост ММВ) плечи R2, R3 могут быть выполнены из калиброванной проволоки (реохорда), по которой перемещается движок, соединенный с гальванометром. Условие равновесия моста определяется выражением Rх = R3•(R1/R2). С помощью R1 устанавливают отношение R1/R2, обычно кратное 10, а с помощью R3 уравновешивают мост. В мостах с реохордом уравновешивания достигается плавным изменением отношения R3/R2 при фиксированных значениях R1.


    В двойных мостах сопротивления соединительных проводов при измерениях неучитываются, что представляет возможность измерять сопротивления до 10-6 Ом. На практике применяют одинарно-двойные мосты типа P329, P3009, МОД-61 и др. с диапазоном измерений от 10-8 Ом до 104 МОм с погрешностью измерения 0,01 - 2%.
    В этих мостах равновесие достигается изменением сопротивлений R1, R2, R3 и R4. При этом достигается равенства R1 = R3 и R2 = R4. Условие равновесия моста определяется выражением Rх= RN•(R1/R2). Здесь сопротивление RN - образцовое сопротивление, составная часть моста. К измеряемому сопротивлению Rх подсоединяют четыре провода: провод 2 - продолжение цепи питания моста, его сопротивление не отражается на точности измерений; провода 3 и 4 включены последовательно с сопротивлениями R1 и R2 величиной больше 10 Ом, так что их влияние ограничено; провод 1 является составной частью моста и его следует выбирать как можно короче и толще.


    При измерениях сопротивления в цепях, обладающих большой индуктивностью, во избежание ошибок и для предотвращения повреждений гальванометра необходимо производить измерения при установившемся токе, а отключение - до разрыва цепи тока.


    Измерение сопротивления постоянному току независимо от метода измерения производят при установившемся тепловом режиме, при котором температура окружающей среды отличается от температуры измеряемого объекта не более чем на ±3°С. Для перевода измеренного сопротивления к другой температуре (например, с целью сравнения, к 15°С) применяют формулы пересчета.

     

Продолжая пользоваться сайтом, Вы соглашаетесь на обработку файлов cookie в соответствии с пользовательским соглашением и политикой конфиденциальности
Нужен кабель? Оформи заявку бесплатно