Эксплуатация выключателей ВПМ-10

    06.07.2010

    Электрические Сети

     

    СЛУЖБА ПОДСТАНЦИЙ 

    ИНСТРУКЦИЯ ПО ЭКСПЛУАТАЦИИ

    ВЫКЛЮЧАТЕЛЕЙ ВПМ – 10

     

    СОДЕРЖАНИЕ

    1. Введение
    2. Общие указания. Критерии и пределы безопасного состояния
    3. Основные технические данные выключателя
    4. Устройство и принцип действия выключателя
    5. Устройство и назначение основных частей
    6. Подготовка выключателя к вводу в работу
    7. Эксплуатация и техническое обслуживание, надзор за выключателем
    во время работы
    8. Вывод выключателя из работы. Допуск к ремонтам и испытаниям
    9. Меры безопасности при эксплуатации выключателя
    10. Приложение №1. Форма ремонтной карточки выключателя

    Знание настоящей инструкции обязательно для:

    1. Начальника, мастера группы подстанций и цеха по ремонту оборудования.

    2. Оперативного и оперативно – производственного персонала.

    3. Производственного персонала группы подстанций и цеха по ремонту оборудования.

     

    Инструкция составлена на основании действующих «Правил технической эксплуатации электрических станций и сетей», «Правил устройства электроустановок», «Техническое описание и инструкция по эксплуатации выключателей типа ВПМ».

     

    2. Общие указания. Критерии и приделы безопасного состояния.

    2.1. Выключатели ВПМ-10 предназначены для коммутации высоковольтных цепей на номинальное напряжение 10 кВ трехфазного переменного тока частоты 50 и 60 Гц в нормальном режиме работы установки, а также для автоматического отключения этих цепей при токах короткого замыкания и перегрузках, возникающих при ненормальных и аварийных режимах работы установок. Выключатели пригодны для работы при однократном повторном включении (АПВ).
    2.2. Выключатель предназначены для работы в следующих условиях:
    а) высота над уровнем моря до 1000 м;
    б) верхнее рабочее и эффективное значение температуры окружающего выключатель воздуха равно соответственно 40 и 35 °С.
    в) нижнее рабочее значение температуры окружающего выключатель воздуха минус 25 °С.
    Для обеспечения возможности работы выключателя при температуры ниже минус 25 °С в установках должны быть предусмотрены подогревательные устройства, обеспечивающие подогрев окружающего выключатель воздуха не ниже вышеуказанной на все время работы выключателя;
    г) среднемесячное значение относительной влажности – 80% при температуре 20 °С;
    д) окружающая среда взрыво- и пожаробезопасная, содержание пыли и газов не должно превышать норм для типа атмосферы II по ГОСТ 15150-69.
    2.3. Выключатели должны встраиваться в металлические негерметичные оболочки (камеры) комплектных распределительных устройств.
    Выключатели поставляются в собранном и отрегулированном состоянии без масла. 2.4. С предприятия – изготовителя выключатели отправляются застопоренными во включенном положении с помощью болта в стенке рамы.
    2.5. В распредустройстве должно быть обеспечено пространство для свободного выхода газов, возникающих при отключении выключателя.
    2.6. Рабочее положение выключателя в пространстве – вертикальное.
    2.7. Выключатели могут сочленяться с приводом ПЭ-11 или ПП-67.

     

    3. Основные технические данные выключателя.
    Таблица №1.


    №№ п/п

    Наименование параметров

    Норма

    ВПМ – 10 – 20/1000 У3

    ВПМ – 10 – 20/630 У3

    1

    Номинальное напряжение, кВ

    10

    10

    2

    Наибольшее рабочее напряжение, кВ

    12

    12

    3

    Номинальный ток, А (при 50 Гц)

    1000

    630

    4

    Номинальный ток отключения, кА (при 50 Гц)

    20

    20

    5

    Нормированные параметры тока включения, кА:
    - наибольший пик

     

    52

     

    52

    - начальное действующее значение периодической составляющей

     

    20

     

    20

    6

    Нормированные параметры сквозного тока короткого замыкания, кА:
    - наибольший пик (ток электродинамической стойкости)

     

     

    52

     

     

    52

    - начальное действующее значение периодической составляющей

     

    20

     

    20

    - среднеквадратное значение тока за время его протекания (ток термической стойкости)

     

    20

     

    20

    - время протекания (время короткого замыкания), с

    4

    4

    7

    Нормированное собственное время отключения выключателя с приводом, с, не более:
    ПЭ – 11

     

    0,09

     

    0,09

    ПП – 67

    0,12

    0,12

    8

    Нормированное полное время отключения выключателя с приводом, с, не более:
    ПЭ – 11

     

    0,11

     

    0,11

    ПП – 67

    0,14

    0,14

    9

    Нормированное время включения выключателя, с, не более

     

    0,3

     

    0,3

    10

    Масса выключателя без масла, кг

    135

    130

    11

    Масса масла, кг

    4,5

    4,5

    12

    Нормированная коммутационная износостойкость, число суммарных операций «В», «О»:
    - при токах в диапазоне свыше 60 до 100% номинального тока отключения

     

     

    10

     

     

    10

    - при токах в диапазоне от 30 до 60% номинального тока отключения, не менее

     

    17

     

    17

    13

    Нормированные показатели надежности:
    - механический ресурс выключателя до капитального ремонта, число циклов «включение – отключение»

     

     

    2500

     

     

    2500

    - средний срок службы до среднего ремонта, лет

    4

    4

    - средний срок службы до списания, лет

    25

    25

    Примечание: при установке выключателя в помещение с рабочей температурой окружающего воздуха 45 °С номинальный ток выключателя снижается соответственно до 500 и 900 А.

     

    Характеристика выключателей ВПМ-10.
    Таблица №2


    №№ п/п

    Характеристика

    Норма

    1

    Полный ход контактного стержня, мм

    210 ± 5

    2

    Ход контактного стержня в розетке, мм

    45 ± 5

    3

    Разновременность касания контактов, мм, не более

    5

    4

    Вытягивающее усилие контактного стержня из розетки во включенном положении, Н, не более

     

    196 (20 кг)

    5

    Ход штока масляного буфера, мм

    20 ± 1

    6

    Скорость движения контактных стержней при отключении, м/с:

     

    2,4 ± 0,3

    для выключателей типа ВПМ-10 с электромагнитным приводом:
    - в момент расхождения контактов
    - максимальная, не более

    3,9

    для выключателей типа ВПМ-10 с пружинным приводом:
    - на ходе 70 мм при 1 и 3-й операциях привода
    - максимальная, не более

     

    2,2 ± 0,3

    3,2

    7

    Скорость движения контактных стержней при включении при номинальном напряжении на зажимах привода и температуре +20°С, м/с:

     

    приводом типа ПП-67 (при соблюдении п.8 данной таблицы):
    - в момент касания контактов, не менее
    - максимальная, не более

     

    1,7

    2,6

    приводом типа ПЭ-11 (при соблюдении п.11 данной таблицы):
    - в момент касания контактов
    - максимальная, не более
    - в момент касания контактов при напряжении равном 0,85 Ин, не менее

     

    2,3 ± 0,3

    2,6

     

    1,6

    8

    Максимальный включающий момент на валу выключателя, Н.м, не более:
    ВПМ-10

     

    510 (52 кгс. м)

    ВПМП-10

    275 (28 кгс. м)

    9

    Испытательное напряжение, кВ

    42

    10

    Полное сопротивление токопровода выключателя, мкОм, не более
    на 630 А

     

    78

    на 1000 А

    72

    11

    Пониженный придел напряжения привода ПЭ-11 на зажимах обмотки, В:

     

    а)

    включающего электромагнита при: Ин = 220 В
    Ин = 110 В

    140
    70

    б)

    отключающего электромагнита при: Ин = 220 В
    Ин = 110 В

    130
    65

     

    4. Устройство и принцип действия выключателей.

    4.1. Принцип работы.
    4.1.1. Выключатели ВПМ-10 относятся к жидкостным высоковольтным выключателям с малым объемом дугогасящей жидкости (трансформаторного масла).
    4.1.2. Принцип работы выключателя основан на гашении электрической дуги, возникающей при размыкании контактов, потоком газомасляной смеси, образующейся в результате интенсивного разложения трансформаторного масла под действием высокой температуры горения дуги. Этот поток получает определенное направление в специальном дугогасительном устройстве, размещенном в зоне горения дуги.
    4.1.3. Включение выключателей происходит за счет энергии привода (ПЭ – 11 или ПП – 67), а отключение – за счет энергии отключающих пружин выключателя.

     

    4.2. Устройство выключателя.
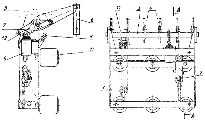
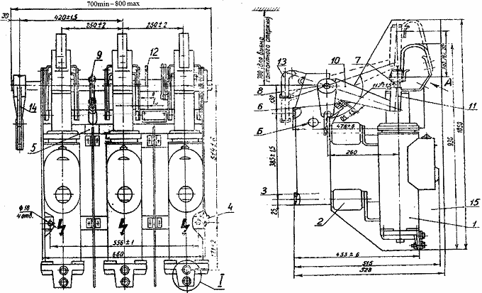
    Общий вид выключателя ВПМ-10 приведен на рис. 1. Три полюса 1 выключателя подвешиваются на опорных изоляторах 2 к сварной раме 3. Опорные изоляторы имеют внутреннее эластичное механическое крепление. Движение от вала выключателя к подвижным контактам 7 полюсов передается изоляционными рычагами 10 и серьгами 11.

     

    РИС 1. Общий вид и габаритно-установочные размеры выключателя ВПМ-10.
    1 – полюс, 2 – изолятор опорный, 3 – рама, 4 – болт заземления, 5 – буфер масляный, 6 – болт упорный (фиксатор включенного положения), 7 – стержень контактный, 8 – вал, 9 – рычаг с роликами, 10 – рычаг изоляционный, 11 – серьга, 12 – рычаг (для среднего присоединения привода), 13 – вилка (для среднего присоединения привода), 14 – рычаг с вилкой (для бокового присоединения привода), 15 – перегородка (только для исполнения У2.

     

    На боковой стороне рамы имеется болт 4 для подсоединения заземляющей шины.
    На обратной от полюсов стороне рамы имеются четыре отверстия диаметром 18 мм для крепления выключателя в распредустройстве.
    В выключателях типа ВПМ – 10 (при среднем присоединении привода) для присоединения деталей кинематической связи используется приваренный к валу выключателя рычаг 12 с вилкой 13. Для бокового подсоединения привода на вал дополнительно устанавливается рычаг с вилкой 14.
    Изоляция между полюсами выключателя климатического исполнения У2 усилена путем установки изоляционных перегородок 15.

     

    5. Устройство и назначение основных частей.

    Рама выключателя (рис. 2) состоит из вала 3 с приваренным к нему попарно рычагами 4, к которым крепятся изоляционные рычаги 5.

     

    РИС 2. Рама выключателя ВПМ-10.
    1 – пружина отключающая, 2 – пружина буферная, 3 – вал, 4 – рычаг, 5 – рычаг изоляционный, 5 – тяга, 7 – рычаг с роликами, 8 – болт упорный, фиксатор включенного положения, 9 – буфер масляный, 10 – рычаг, 11 – изолятор, 12 – рычаг дистанционной связи.

     

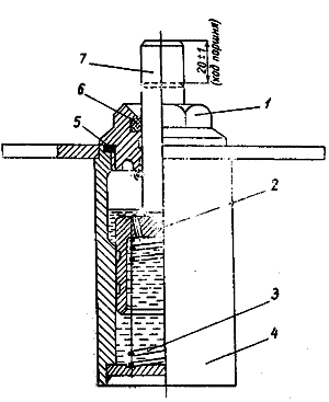
    К рычагам 5 крепятся серьги 6. Для климатического исполнения «У3» серьга 6 выполняется полностью металлической, а для исполнения «У2» – для увеличения длины утечки – составной и состоит из стальной скобы, к которой крепятся две изоляционные пластины. Пара двуплечих рычагов с роликами 7 служит для ограничения включенного и отключенного положения выключателя. При включении один из роликов подходит к болту 8, а при отключении другой ролик перемещает шток масляного буфера 9. Устройство масляного буфера показано на рис. 3.

     

    РИС 3. Буфер масляный.

    1 – гайка специальная,
    2 – поршень,
    3 – пружина,
    4 – цилиндр,
    5 и 6 – шайбы уплотнительные,
    7 – шток.

     

    Для крепления отключающих пружин 1 в выключателях типа ВПМ – 10 к валу выключателя дополнительно приварен рычаг 10. Буферная пружина 2 дополнительно способствует отключению выключателя, помогая вывести контактные стержни из розеточных контактов.
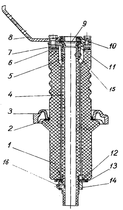
    Полюс выключателя (рис.4) состоит из сварного цилиндра 1, к которому приварены скобы 18 для крепления его к опорным изоляторам рамы. Цилиндры выключателей на номинальный ток 1000 А выполняются из латуни, а на номинальный ток 630 А выполняются из стали и имеют продольный немагнитный шов.

     

    РИС 4. Полюс выключателя ВПМ–10.

    1 – цилиндр сварной,
    2 – цилиндр,
    3 – кожух с маслоотделителем,
    4 – маслоуказатель,
    5 – жалюзи,
    6 – пробка маслоналивная,
    7 – прокладка резиновая,
    8 – изолятор проходной,
    9 – цилиндр изоляционный,
    10 – камера дугогасительная,
    11 – контакт розеточный,
    12 – кольцо уплотняющее,
    13 – стержень контактный,
    14 – связь гибкая,
    15 и 16 – скоба,
    17 – болт маслоспускной,
    18 – скоба,
    19 – пластина,
    20 – клапан.

    К цилиндру приварен кожух 3 с маслоналивной пробкой 6 и маслоуказателем 4. Кожух служит дополнительным расширительным объемом, внутри которого расположен маслоотделитель лабиринтного типа.
    Газы, образующиеся при отключении выключателя, выходят из полюса через специальные жалюзи 5.
    Внутри цилиндра 1 расположены цилиндр 2 с клапаном 20 и изоляционный цилиндр 9, между которыми устанавливается дугогасительная камера 10. Клапан 20 предназначен для улучшения перетока масла из кожуха 3 в подкамерное пространство в цикле АПВ.


    В отключенном положении изоляция контактного стержня 13 от металлического цилиндра 1, электрически связанного с розеточным контактом 11, осуществляется при помощи проходного изолятора 8. Контактный стержень 13 соединяется с токоведущей скобой 16 при помощи гибких связей 14.
    Выключатели на 630 и 1000 А имеют одинаковые контактные стержни 13 и розеточные контакты 11, а отличаются количеством гибких связей 14 (на полюс выключателя 630 А – 1 шт., а выключателя 1000 А – 2 шт.) и размерами колодки.


    Дугогасительная камера (рис. 5) поперечного масляного дутья состоит из пакета изоляционных пластин, стянутых тремя изоляционными шпильками 2. В нижней части камеры расположены один над другим поперечные дутьевые каналы А, а в верхней – масляные «карманы» Б. Поперечные дутьевые каналы имеют вертикальные выходы Б, направленные вверх. Большие и средние токи гасятся дутьем в поперечных каналах, а малые токи, если они не будут погашены в каналах, гасятся с помощью дутья в масляных «карманах».

     

    РИС 5. Камера дугогасительная.

    1 – гайка,
    2 – шпилька,
    3 – кольцо фибровое,
    А – поперечные дутьевые каналы,
    Б – карманы,
    В – выходы дутьевых каналов.

     

    Стабильность дугогашения обеспечивается созданием обеспечивается созданием разности давления между под камерным и надкамерным пространствами за счет надежного уплотнения между камерой 10 (рис. 4) и цилиндром 2: цилиндр своей острой кромкой вдавливается в картонную пластину камеры 19. Кроме того, дугогасительная камера и цилиндр 2 по поверхности А плотно прилегают друг к другу.

     


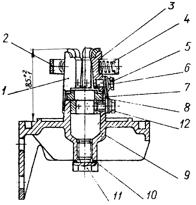
    РИС 6. Изолятор проходной.

    1 – изолятор,
    2 – прокладка,
    3 – крышка,
    4 – трубка бакелитовая,
    5 – колпачек,
    6 – прокладка,
    7 – болт, гайка М8,
    8 – скоба,
    9 – шайба,
    10 – кольцо,
    11 – манжета кожаная,
    12 – прокладка,
    13 – шайба,
    14 – гайка,
    15 – заклепка,
    16 – винт.

     

    Проходной изолятор (рис.6) состоит из фарфорового изолятора 1, внутри которого помещена бакелитовая трубка 4. Бакелитовая трубка служит для увеличения электрической прочности промежутка между контактным стержнем и цилиндром полюса. В изоляторе бакелитовая трубка крепится при помощи колпачка 5 и гайки 14. В верхней части изолятора для уплотнения контактного стержня устанавливается кожаная манжета 11.
    Шайбами 9 обеспечивается плотное прилегание кожаной манжеты 11 к поверхности колпачка 5. К колпачку 5 крепится токоведущая скоба 8, служащая верхним выводом выключателя.

     

    РИС 7. Контакт розеточный.

    1 – ламель, 2 – кольцо, 3 – колпачок, 4 – пружина, 5 – болт М 8х16,
    6 – шайба пружинная, 7 – связь гибкая, 8 – втулка, 9 – крышка,
    10 – шайба, 11 – болт маслоспускной, 12 – шайба.

     

    Розеточный контакт (рис.7) расположен на нижней крышке 9 полюса выключателя. Он состоит из пяти ламелей, облицованных в верхней части дугостойкой металлокерамикой. Контактное нажатие осуществляется с помощью пружин 4. Электрическая связь ламелей с крышкой, на которой находится нижний вывод выключателя, осуществляется с помощью гибких связей 7. В нижнюю часть крышки ввернут маслоспускной болт 11 с уплотняющей шайбой 10. Между крышкой и цилиндром полюса 1 (рис.4) устанавливается резиновое уплотнение 12.

     

    6. Подготовка выключателя к вводу в работу.

    После окончания монтажа или ремонта необходимо произвести тщательный осмотр выключателя и привода:
    - проверить правильность и надёжность подсоединения рамы выключателя к заземляющему контуру;
    - проверить надёжность контактов на ошиновке и наличие термоиндикаторов;
    - очистить от пыли поверхность выключателя, протереть мягкой чистой ветошью изоляционные детали;
    - проверить наличие смазки на трущихся деталях выключателя и привода;
    - проверить наличие масла и его уровень во всех баках выключателя;
    - проверить исправность и правильность действия блокировочных устройств;
    - проверить наличие надписей диспетчерских наименований и соответствие их требованиям инструкции;
    - проверить наличие записей в ремонтной и технической документации, в журналах "Готовности оборудования после профиспытаний" и "Указаний оперативному персоналу по готовности устройств РЗА";
    Вывести бригаду с рабочего места, закрыть наряд-допуск и сдать оборудование диспетчеру

     

    7. Эксплуатация и техническое обслуживание, надзор за выключателем во время работы.

    Персонал, обслуживающий выключатели, должен знать устройство и принцип действия аппарата, знать и выполнять требования настоящей инструкции.
    Механические характеристики в процессе эксплуатации должны соответствовать нормам приведенным в таблице №2.
    Все сведения о неисправностях, обнаруженных во время работы выключателя, необходимо записывать в журнал дефектов и сообщать начальнику, а сведения об отключении коротких замыканий – в «Журнал автоматических отключений».
    После отключения короткого замыкания выключатель должен быть осмотрен. При этом проверяется отсутствие выброса масла из резервуаров полюса. Значительный выброс масла свидетельствует о ненормальном отключении короткого замыкания – выключатель должен быть выведен из работы и осмотрен. Если после отключения короткого замыкания отмечено потемнение масла в масломерном стекле, масло в выключателе следует заменить. Внимательно осматриваются тяги, изолирующие цилиндры и опорные изоляторы, обращается внимание на отсутствие трещин и степень загрязнения изоляции, в необходимых случаях после вывода выключателя из работы проводится протирка изоляции.



    Периодический осмотр должен проводиться не реже одного раза в месяц. При осмотрах особое внимание должно быть обращено на:
    - уровень масла в полюсах;
    - отсутствие выброса масла в зоне выхлопа и масляного буфера;
    - отсутствие течи масла из цилиндров полюсов;
    - состояния изоляции (запыленность, загрязненность, наличие трещин, сколов и др.),
    - состояние наружных контактных соединений;
    - надежность подсоединение заземляющей шины;
    - состояние привода.

     

    Текущий ремонт выключателя ВПМ-10 должен проводиться ежегодно. При текущем ремонте необходимо провести следующие работы:
    1) Слить масло, снять с каждого полюса нижнюю крышку с розеточным контактом. Вынуть изоляционные цилиндры и дугогасительную камеру, проверить их состояние, а также состояние розеточных контактов и подвижных контактных стержней. Если размыкающиеся контакты и камеры имеют несущественный износ, то достаточно произвести зачистку этих поверхностей напильником или мелкой наждачной бумагой, затем промыть трансформаторным маслом. Более поврежденные ламели розеточного контакта рекомендуется поменять местами с менее поврежденными. Это позволит увеличить срок службы розеточного контакта.
    2) Залить выключатель чистым трансформаторным маслом и убедиться в отсутствии течи масла через уплотнения.
    3) Проверить работу масляного буфера путем нажатия на шток.
    4) Произвести обтяжку болтовых соединений, проверить надежность крепления опорных изоляторов, рамы выключателя, полосы заземления.
    5) Произвести протирку фарфоровых изоляторов и изоляционных рычагов. Смазать контактные соединения смазкой. При необходимости восстановить смазку трущихся частей.
    6) Замерить переходное сопротивление полюсов. Скорость движения подвижных контактов в момент включения и отключения выключателя.
    7) Очистка, смазка трущихся частей, мелкий ремонт привода.
    8) Проверить работу выключателя включением и отключением его вхолостую со щита управления (дистанционно) и по ТУ.
    9) Оформление документации.
    При необходимости выполняется регулировка выключателя и привода.



    Средний ремонт выключателя ВПМ-10 производится через 3 – 4 года после капитального. При этом производится комплекс работ в объеме текущего и дополнительно замеряются характеристики приведенные в таблице №2. Если измеренные характеристики имеют отклонения, производится разборка, регулировка выключателя и высоковольтные испытания в полном объеме.

    Капитальный ремонт выключателя должен проводиться один раз в 6 – 8 лет, а также при наработке выключателем 2500 циклов «В» – «О», отключении коротких замыканий количество которых указано в таблице №1. При капитальном ремонте необходимо произвести следующие работы:
    1) Отсоединить от выключателя подводящие шины и слить масло.
    2) Произвести разборку цилиндров (полюсов).
    3) Произвести работы, указанные в п.1 данного раздела.
    4) Проверить все шарнирные соединения как в выключателе, так и дистанционной передаче, восстановить их до нормы (заменить), смазать.
    5) Проверить и при необходимости заменить крепежные детали.
    6) Промыть все внутренние полости цилиндров трансформаторным маслом.
    7) Проверить состояние уплотнения контактного стержня и бакелитовой трубки.
    8) Произвести ремонт подвижных контактных стержней.
    9) Проверить состояние гибких связей (отсутствие обрывов, подгаров), промыть и смазать тонким слоем смазки контактные площадки.
    10) Залить выключатель трансформаторным маслом, убедиться в отсутствии течей масла из полюсов и при необходимости подтянуть болтовые соединения.
    11) Произвести необходимые замеры переходного сопротивления, скоростных и механических характеристик. При необходимости произвести регулировку выключателя и дистанционной передачи.
    Усилие, необходимое для вытягивания контактного стержня из положения, соответствующего включенному выключателю, определяется пружинным динамометром класса точности не ниже 2, при этом стержень должен быть отсоединен от серьги вала выключателя.
    Максимальный момент на валу выключателя определяется с помощью приспособления, имеющего постоянную величину плеча, пружинным динамометром класса точности 2. Отсчет момента ведется от начала соприкосновения контактов до входа контактных стержней в розетки на 40 – 45 мм. Выключатель должен быть отсоединен от дистанционной передачи.
    12) Восстановить при необходимости поврежденную окраску.
    13) Произвести высоковольтные испытания выключателя.
    14) Проверить работу выключателя включением и отключением его вхолостую со щита управления (дистанционно) и по ТУ.
    15) Оформление документации.
    При проведении текущего ремонта выключателя замеренные характеристики указываются в тексте ремонтной карты, например: «Произведен текущий ремонт выключателя согласно технологической карты №….Переходное сопротивление – ф.А =…, ф.В = …, ф. С = …, скорость включения - … м/с, скорость отключения - … м/с, напряжение на зажимах обмотки включения - …, отключения - …». При проведении среднего ремонта выключателя выполняется запись в ремонтной карточке о проведении ремонта и замеренные характеристики записываются в карточку проведения ремонта (Приложение №1) – заполняются строки – 1,2,3,5,6,7,9. При проведении капитального ремонта выключателя выполняется запись в ремонтной карточке о проведении ремонта и замеренные характеристики записываются в карточку проведения ремонта (Приложение №1) – заполняются все строки карточки.

     

    8. Вывод выключателя из работы. Допуск к ремонтам и испытаниям.

    Вывод выключателя в плановый ремонт производится по заявке, подаваемой в установленные сроки. Вывод в аварийный ремонт - по аварийной заявке, подаваемой немедленно после обнаружения аварийного состояния.
    Ремонт выключателя на месте установки производится по наряду - допуску после допуска бригады на подготовленное в соответствии ПТБ рабочее место.
    У руководителя работ на рабочем месте должна находиться утверждённая технологическая карта ремонта или проект организации работ.
    В состав бригады по ремонту может быть включён персонал лаборатории изоляции для проведения высоковольтных испытаний.

     

    9. Меры безопасности при эксплуатации выключателя.

    При осмотре выключателя запрещается проникать за сетчатые или барьерные ограждения (в ЗРУ) и приближаться к токоведущим частям на расстояние менее допустимого.
    Если при осмотре выключателя обнаружено отсутствие масла в масломерном стекле хотя бы одной фазы или течь масла, угрожающая недопустимым снижением уровня масла, то об этом должно быть немедленно сообщено диспетчеру и начальнику группы подстанций, а со схемы управления выключателя снят оперативный ток для предотвращения его автоматического или дистанционного отключения и повреждения. После этого должны быть приняты экстренные меры по выводу его из работы.
    В процессе эксплуатации необходимо следить за уровнем масла в полюсах, который не должен опускаться за пределы нижней черты маслоуказателя. Работы по техническому обслуживанию, для выключателей типа ВПМП – 10, должны проводиться при разряженном приводе до полного снятия рабочего момента на его валу. При разборке (снятии планок) буферной пружины необходимо принять меры предосторожности, т. к. пружина имеет большое усилие предварительного натяга – для чего необходимо закрепить неподвижно один конец пружины, в второй конец перемещать с помощью какого-либо приспособления, незначительно натянуть пружину до появления люфта между планками и крепящими их осями, вынуть оси из планки, а затем разгрузить пружину до соприкосновения винтов.

     

    Приложение №1

    Характеристики выключателя типа ВПМ – 10.

    № п/п

    Характеристика выключателя

    норма

    Дата проведения ремонта.

     

     

     

     

     

     

     

    1

    Полный ход контактного стержня, мм

    210±5

     

     

     

     

     

     

     

    2

    Ход контактного стержня в розетке, мм

    45±5

     

     

     

     

     

     

     

    3

    Разновременность касания контактов, мм, не более

    5

     

     

     

     

     

     

     

    4

    Вытягивающие усилие контактного стержня из розетки во включенном положении, Н, не более

    196
    (20 кг)

     

     

     

     

     

     

     

    5

    Ход штока масляного буфера, мм

    20±1

     

     

     

     

     

     

     

    6

    Скорость движения контактных стержней при отключении, м/с:
    - в момент расхождения

    - максимальная, не более

     

    2,4±0,3
    (2,2±0,3)*

     

     

     

     

     

     

     

    2,2±0,3
    (3,2)*

     

     

     

     

     

     

     

    7

    Скорость движения контактных стержней при включении, м/с:
    - в момент включения, не менее

    - максимальная, не более

     

    2,3±0,3
    (1,7)*

     

     

     

     

     

     

     

    2,6
    (2,6)*

     

     

     

     

     

     

     

    8

    Максимальный включающий момент на валу выключателя, Н*м (52 кгс. м), не более

     

    510 (52)
    275 (28)*

     

     

     

     

     

     

     

    9

    Полное сопротивление токопровода выключателя, мкОм, не более
    - на 630 А (1000 А)

     

     

    78 (72)

     

     

     

     

     

     

     

    10

    Пониженный придел напряжения привода ПЭ – 11 на зажимах обмотки, В, не менее
    включения: 220 В (110В)
    отключения 220В (110 В)

     

     

    140 (70)
    130 (65)

     

     

     

     

     

     

     

    11

    Подпись руководителя ремонта

     

     

     

     

     

     

     

     

     

    * - характеристика указанная для выключателя с пружинным приводом.

Продолжая пользоваться сайтом, Вы соглашаетесь на обработку файлов cookie в соответствии с пользовательским соглашением и политикой конфиденциальности
Нужен кабель? Оформи заявку бесплатно