Эксплуатация выключателей BK-10

    06.07.2010

    Электрические Сети

    СЛУЖБА ПОДСТАНЦИЙ

    ИНСТРУКЦИЯ ПО ЭКСПЛУАТАЦИИ ВЫКЛЮЧАТЕЛЕЙ

    ВК–10

    СОДЕРЖАНИЕ

    1. Введение
    2. Общие указания. Критерии и пределы безопасного состояния
    3. Основные технические данные выключателя
    4. Устройство и принцип действия выключателя
    5. Устройство пружинного привода
    6. Работа привода
    7. Подготовка выключателя к вводу в работу
    8. Измерение параметров, регулировка и настройка
    9. Техническое обслуживание выключателя
    10. Меры безопасности при эксплуатации выключателя

     

    Знание настоящей инструкции обязательно для:

    1. Начальника, мастера группы ПС и ЦРО.

    2. Оперативного и оперативно – производственного персонала групп ПС.

    3. Производственного персонала группы ПС и ЦРО.

    Инструкция составлена на основании действующих «Правил технической эксплуатации электрических станций и сетей», «Правил устройства электроустановок», «Техническое описание и инструкция по эксплуатации выключателей типа ВК – 10».

     

    2. Общие указания. Критерии и приделы безопасного состояния.

    2.1.Выключиатели высоковольные трехполюсные в серии ВК-10 с пружинным приводом предназначены для работы в шкафах комплектных распределительных устройств (КРУ) внутренней и наружной установки номинальным напряжением до 11 кВ трехфазного переменного тока частоты 50 или 60 Гц.
    2.2. Выключатель предназначены для работы в следующих условиях:
    а) высота над уровнем моря до 1000 м;
    б) верхнее рабочее и эффективное значение температуры окружающего выключатель воздуха равно соответственно 45 °С.
    в) нижнее рабочее значение температуры окружающего выключатель воздуха минус 25 °С.
    Для обеспечения возможности работы выключателя при температуре ниже минус 25 °С в установках должны быть предусмотрены подогревательные устройства, обеспечивающие подогрев окружающего выключатель воздуха не ниже вышеуказанной на все время работы выключателя;
    г) среднемесячное значение относительной влажности – 80% при температуре 20 °С;
    д) окружающая среда взрыво- и пожаробезопасная, содержание пыли и газов не должно превышать норм для типа атмосферы II по ГОСТ 15150-69.
    2.3. Рабочее положение выключателя в пространстве – вертикальное.

     

    3. Основные технические данные выключателя.
    Таблица №1.

    Номинальное напряжение, кВ

    10

    Наибольшее рабочее напряжение, кВ

    12

    Номинальный ток, А

    630; 1000; 1600*

    Номинальный ток отключения, кА

    20; 31,5*

    Предельный сквозной ток (амплитудное значение), кА

    52; 80

    Собственное время отключения, с, не более

    0,05

    Время отключения выключателя с приводом, с, не более

    0,07

    Номинальное напряжение электромагнитов включения и отключения:
    - постоянного тока
    - переменного тока

     

    24; 48; 110; 220
    100; 127; 220; 380

    Ток срабатывания электромагнита отключения, А

    3; 5

    Напряжение срабатывания электромагнитов управления в процентах от номинального:
    - включения
    - отключения

     

    80 – 110 %
    65 – 120 %

    Номинальное напряжение электродвигателя для заводки пружин
    - постоянного тока, В
    - переменного тока, В

     

    110; 220
    127, 220

    Время заводки рабочих пружин, с, не более

    15

    Масса выключателя, кг

    160 – 200

    Масса масла, кг

    12


    Напряжение срабатывания электромагнитов управления в процентах от номинального:
    - включения
    - отключения

     

    80 – 110 %
    65 – 120 %

    Номинальное напряжение электродвигателя для заводки пружин
    - постоянного тока, В
    - переменного тока, В

     

    110; 220
    127, 220

    Время заводки рабочих пружин, с, не более

    15

    Масса выключателя, кг

    160 – 200

    Масса масла, кг

    12

    * для выключателей ВК – 10 исполнения У2 при частоте 50 Гц.

     

    4. Устройство и принцип действия выключателя.

    Выключатели ВК–10 относятся к жидкостным трехполюсным высоковольтным выключателям с малым объемом дугогасящей жидкости (трансформаторного масла). Они предназначены для коммутации высоковольтных цепей трехфазного переменного тока в номинальном режиме работы электроустановки, а также для автоматического отключения этих цепей при коротких замыканиях и перегрузках, возникающих при аварийных режимах.
    Принцип работы выключателя основан на гашении электрической дуги, возникающей при размыкании контактов, потоком газомасляной смеси, образующейся в результате интенсивного разложения трансформаторного масла по действием высокой температуры дуги.


    Этот поток получает определенное направление в специальном дугогасительном устройстве, размещенном в зоне горения дуги.


    Управление выключателем ВК–10 дистанционно или в ручную производится двигательным пружинным приводом косвенного действия. Включение выключателя осуществляется за счет энергии, предварительно запасенной включающими пружинами привода. Отключение выключателя осуществляется за счет энергии, запасенной отключающей пружиной выключателя при включении.
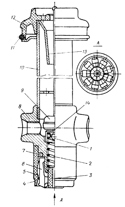
    Основание выключателя (Рис. 1) состоит из рамы 1, на которой установлены боковые стойки 7 для крепления привода 5 и закреплены педаль 9 для разблокирования выключателя в ячейки КРУ, заземляющий контакт 2 и корпус механизма полюсов 3.

     

    Рис. 1. Общий вид выключателя.
    1 – педаль; 2 – контакт заземляющий; 3 – рама; 4 – колесо; 5 – прокладка; 6 – пробка маслоуказательного отверстия; 7 – корпус механизма полюсов; 8 – рычаг вала выключателя; 9 – привод; 10 – стойка; 11 – болт; 12 – рычаг механизма внутренний; 13 – тяга; 14 – тяга регулируемая; 15 – буфер масляный; 16 – вал механизма; 17 – уплотнение; 18 – рычаг механизма наружный; 19 – шайба затяжная; 20 – подшипник; 21 – пружина отключающая.

     

    Корпус механизма полюсов выполнен моноблоком на все три полюса.
    Внутри корпуса на каждый полюс имеется механизм перемещения подвижного стержня, состоящий из двух рычагов: наружного 11 и внутреннего 13, жестко закрепленных на общем валу 10. Вал механизма установлен на подшипниках скольжения и имеет уплотнения с защитными шайбами.
    Наружные рычаги 11 вала механизма полюса, связанные общей тягой 12, соединены с отключающей пружиной 17 и регулируемой тягой 15 с рычагом 18 привода выключателя.
    Полюс выключателя состоит из изоляционного цилиндра 13, на нижнем конце которого заармирован металлический фланец 8. Цилиндры закреплены на корпусе 6 механизма.

     

    Внутренний рычаг 13 (Рис. 1) механизма полюса изоляционной тягой 9 шарнирно связан с подвижным стержнем 4 (Ø 24 мм для выключателей на номинальные токи 630, 1000 А и Ø 28 мм – на номинальные токи 1250, 1600 А). Для повышения стойкости к действию электрической дуги и увеличения срока службы верхний конец подвижного стержня снабжен контактом, облицованным дугостойкой металлокерамикой.
    В цилиндре полюса установлено токосъемное устройство, состоящее из обоймы 10 с двумя направляющими стержнями 2.

     

    Между направляющими и подвижными стержнями установлен токопровод 3 (роликовое токосъемное устройство), который служит для передачи тока с подвижного на направляющие стержни и одновременно для направления подвижных стержней. Токопровод имеет от четырех до восьми пар роликов в зависимости от номинального тока отключения выключателя.

     

     

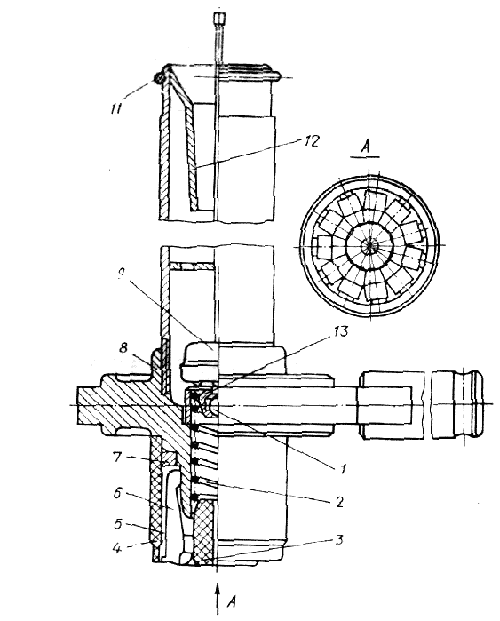
    Рис. 2 Камера дугогасительная.

    Над токосъемным устройством на распорном цилиндре 11 установлена дугогасительная камера 12 поперечного масляного дутья. Дугогасительная камера состоит из пакета изоляционных перегородок, стянутых тремя шпильками. Верхняя перегородка камеры имеет сменное кольцо 1 (Рис.2) из дугостойкого материала, которое при сильном обгорании можно заменить, не меняя при этом перегородку. Камера имеет центральное отверстие для прохода подвижного стержня. В верхней части камеры изоляционные перегородки образуют три поперечные, расположенные одна над другой, дутьевые щели 2 для гашения больших токов, связанные сквозным вертикальным каналом 3 с подкамерным и надкамерными пространствами. В нижней части камеры имеются два глухих масляных кармана 5 для гашения малых токов. Конусная вилка 4, установленная в средней части камеры, предотвращает подвижный стержень от чрезмерного разгона под действием высокого давления, возникающего при отключении токов короткого замыкания.

     

    Рис.3. Контакт розеточный на номинальные токи 630 и 1000А
    1 – шарик; 2 – пружина; 3 – толкатель; 4 – цилиндр; 5 – пружина; 6 – ламель; 7 – обойма; 8 – основание; 9 – поплавок со стержнем указателя; 10 – труба; 11 – уплотнение; 12 – крышка; 13 – воронка; 14 – клапан.

     

     

    Рис. 4 . Контакт розеточный на номинальный ток 1600 А.
    1 – шарик; 2 – пружина; 3 – толкатель; 4 – цилиндр; 5 – пружина; 6 – ламель; 7 – обойма; 8 – основание; 9 – поплавок со стержнем указателя; 10 – труба; 11 – уплотнение; 12 – воронка; 13 – клапан.

    Н

    ад камерой установлен розеточный контакт 14. На основании 8 (рис. 3 и 4) контакта в обойме 7 установлены девять ламелей 6 для выключателей на номинальные токи 630, 1000А и одиннадцать – для выключателей на номинальные токи 1250 и 1600А, нижние торцы которых облицованы дугостойкой металлокерамикой. С внешней стороны каждая ламель имеет гнездо, куда устанавливается пружина 5, упирающаяся в цилиндр 4. Ламели нижними внутренними торцами поджимаются к толкателю 3. Толкатель защищает серебряные контактные поверхности ламелей от обгорания; одновременно толкатель служит демпфером при включении. Над толкателем установлена пружина 2. В основании установлен клапан 14 (рис. 3) с отверстием для входа масла, которое закрывается шариком 1 для предотвращения выброса газомасляной смеси при отключении. Основание 8 соединено трубой 10 с крышкой 12 (рис. 3, в выключателях на номинальные токи 630, 1000А) и с кожухом (в выключателях на номинальные токи 1250, 1600А). В крышке и в кожухе имеются отверстия для заливки масла, выхода газов и установки стекла 1 маслоуказателя. Маслоуказатель служит для наблюдения за уровнем масла в полюсе и состоит из стекла маслоуказателя с двумя придельными рисками и расположенного в трубе 10 поплавка 9 (рис. 3) со стержнем маслоуказателя.

     

    Полюс выключателя на номинальные токи 1250 и 1600 А отличается от полюса на номинальные токи 630 и 1000 А наличием в верхней части металлического ребристого кожуха и исполнением основания 8 (рис. 4) розеточного контакта как одно целое с токоведущим стержнем.

     

    5. Устройство пружинного привода.

    Конструктивной особенностью и достоинством привода является использование избыточной энергии подвижных частей для частичного подзавода рабочих пружин привода в конце включения выключателя.
    Привод состоит из следующих основных частей: рамы, основными частями которой являются передняя стенка, средняя стенка 27, задняя стенка 37, боковые швеллеры 34 и верхний швеллер 48; вала 41 кривошипа с храповым колесом 43; вала 1 привода, сочлененного с валом выключателя; первичного вала 6; механизма свободного расцепления 70; электродвигателя 52 с редуктором; вала ручной заводки 51; пружин включения 74; дополнительной пружины включения 62; блок контактов (QSM) 58 положения привода; блок контактов (Q) положения выключателя (переключателей 42 и 79); клеммных зажимов (ХТ) 11; буфера 63; блокирующей защелки 22; электромагнита дистанционного отключения (YAT) 85; электромагнита дистанционного отключения независимого питания (YAV) 80; электромагнита дистанционного включения (YAC) 18; реле блокировки от повторного включения (KBS) 36; кнопки ручного включения 10 и ручного отключения 86; защелки включения 15; монтажа проводки 84; блока 93 реле токовых электромагнитов; счетчика количества операций (SAB) и блок – замка.


    Механизм включения, рабочие положения которого показаны на рис. 4, состоит из: рычага 2 с игольчатым подшипником, установленным на первичном валу 1, вала 3 кривошипа, механизма свободного расцепления 6, рычага 7, рычага заводки 8, пружины 5 и вала 4 привода. Механизм служит для: удержания привода и, соответственно вала выключателя во включенном положении; отключения выключателя при воздействии на механизм отключающего элемента (положения «а» или «b»); передачи усилия рабочих отключающих пружин с первичного вала на вал привода и, соответственно на вал выключателя в процессе включения (из положения «а» в «с»).


    Заводное устройство рабочих пружин включения 74, 62 состоит из электродвигателя 52 с редуктором; установленной на его эксцентричном валу собачки 46, подпружиненной пружиной 53; храпового колеса 43; вала 41 кривошипа; рычага 76 и рычага заводки 69.


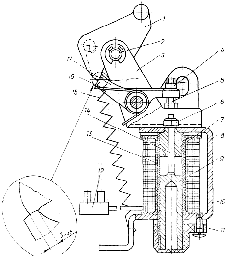
    Буфер верхней частью стенки крепится к стенке 27, а нижней частью – на первичном валу 6. Буфер предназначен для: ограничения угла поворота рычага 72 при включении выключателя; частичного поглощения энергии и смягчения ударов подвижных частей привода при включении; фиксации (удержания) вала 1 привода и, соответственно, выключателя во включенном положении через рычаг 72 и механизм свободного расцепления 70.
    Блокирующая защелка 22 предназначена для блокировки защелки включения 15 при включенном положении выключателя и заведенных рабочих пружинах привода. Устройство блокировки включения показано на рис. 7. При отключении рычаг 2 вала 1 привода отжимает своим выступом подпружиненную пружиной 4 блокирующую защелку 3 и разблокирует ось 5 защелки включения 9.


    Противоразрядное устройство обеспечивает выполнение следующих блокировочных функций (в КРУ): невозможность вкатывания включенного выключателя из разобщенного (контрольного) положения в рабочее; невозможность осуществления операции включения выключателя в промежуточном положении между разобщенным и рабочим. Принцип работы противоразрядного устройства основан на воздействии педали 9 (рис. 1) основания на стержень противоразрядного устройства при вкатывании выключателя из разобщенного положения в рабочее или при выкатывании из рабочего в разобщенное. При нажатии педали и воздействия ее на стержень 13 последний, перемещаясь вверх и воздействуя пальцами 11, поворачивает рычаг 1, который соединен с кулачком 2 и, поворачивая его (по часовой стрелке), запирает кулачек 17 включающего устройства.


    Для подсчета количества операций включения – отключения (ВО) в приводе установлен счетчик количества операций. Для блокировки включающего устройства при заведенных рабочих пружинах привода в нем устанавливается блок – замок. Он обеспечивает невозможность включения выключателя при вставленном в блок – замок и повернутом ключе. Установка счетчика и блок – замка показана на.

     

    Рис. 12. Установка зазора между зубьями собачки и храпового колеса


    Блок – замок работает следующим образом: поворотом ключа 16 против часовой стрелки кулачек 9, поворачиваясь, поднимает рычаг 7, который своим пазом фиксирует включающий кулачек 17 (рис.12). Одновременно кулачек 9, воздействуя на микровыключатель 12, разрывает цепь питания электромагнита включения (YAC) 18 и цепь питания катушки реле блокировки от повторного включения (KBS) 36. Этим достигается механическая и электрическая блокировка выключателя в отключенном положении; для включения выключателя необходимо поворотом ключа 16 по часовой стрелке разблокировать включающее устройство привода, причем последовательность действия элементов блок – замка обратная описанному выше; при включении выключателя рычаг 10 под действием пружины 3 поворачивается против часовой стрелки, и стержень 13 запирает кулачек 9, что не дает возможности повернуть вставленный ключ 16, а следовательно, заблокировать привод и, соответственно, выключатель во включенном положении.

     

    6. Работа привода.

    Привод в отключенном положении с незаведенными рабочими пружинами включения 74 и 62. Для автоматического завода пружин необходимо подать питание на электродвигатель 52 с редуктором. Колебательное движение собачки 46 сообщает вращательное движение храповому колесу 43, жестко посаженному на вал 41 кривошипа, который посредством рычага 76 поворачивает по часовой стрелке рычаги 59 и 69, жестко соединенные с первичным валом 6, и заводит рабочие пружины, при этом пружина 62 сжимается, а пружина 74 растягивается.
    Для предотвращения обратного вращения храпового колеса под действием усилия, возникающего в процессе заводки рабочих пружин, помимо тормоза (вид А), предусмотрена стопорная собачка 30. Процесс складывания механизма свободного расцепления 70 происходит в течение всего времени заводки рабочих пружин и заканчивается в конце заводки, а при заведенных пружинах – мгновенно.


    Заводка пружин может осуществляться вручную вращением рукоятки завода пружин по часовой стрелке. При вращении рукоятки приводится в движение собачка 45, установленная на кривошипном конце вала ручной заводки 51. В дальнейшем движение частей привода происходят в той же последовательности, что и при заводке рабочих пружин электродвигателем редуктора. В конце заводки пружин рукоятка заводки вращается в холостую, т. к. собачка 45 находится в контакте с сектором храпового колеса 43, на котором отсутствуют зубья.
    При не полностью заведенных рабочих пружинах нельзя включать выключатель дистанционно. Рычагом ручного включения возможно включить и отключить выключатель при наладочных работах и замере момента на валу механизмов полюсов.

    7. Подготовка выключателя к вводу в работу

    Подготовку выключателя ВК-10 к работе необходимо начать с наружного осмотра, при этом проверить состояние и надежность крепления всех узлов и деталей. При необходимости подтянуть крепежные соединения и восстановить смазку на трущихся поверхностях, особо обратив внимание на наличие смазки в шарнирных соединениях рычага 69, рычага 72 механизма свободного расцепления 70, роликов 21 и 88 защелки включения 15, на рабочих поверхностях направляющей 68.


    Снять консервационную смазку. Контакты выключателя имеют гальваническое покрытие, поэтому зачистка их поверхностей напильником или наждачной шкуркой недопустима. При очистке необходимо пользоваться растворителем, например, бензином БР – 1 или спиртом. Контактные поверхности токоведущих стержней в зоне касания с ламелями втычных контактов покрыть тонким слоем смазки.
    Проверить работу масляного буфера, для чего нажать шток поршня вниз до упора, затем резко отпустить; при этом поршень должен быстро, без заеданий возвратиться в исходное положение.
    Отвинтить пробки маслоспускных отверстий и слить масло из полюсов.
    Проверить максимальный и минимальный удерживающий моменты на валу механизмов полюсов в соответствии с разделом 8.


    Ввинтить маслоспускные пробки и залить полюсы по верхнему уровню маслоуказателей трансформаторным маслом. Для этого установить выключатель в отключенное положение, отвинтить стекла маслоуказателей и медленно заливать масло до начала движения поплавка. Установить стекла маслоуказателей и долить масло до верхнего уровня через стравливающее отверстие в крышке 12 (рис. 3). Чистое сухое масло перед заливкой в полюсы должно иметь пробивное напряжение не менее 25 кВ в стандартном разряднике.
    Проверить скорость отключения и включения, электрическое сопротивление полюсов в соответствии с разделом 8.


    Проверить исправность действия блокировочных устройств и механизмов выключателя в соответствии с разделом 8.


    Обтереть выключатель. Обтирочный материал должен быть чистым и не оставлять ворса. Изоляционные цилиндры обтереть ветошью, слегка смоченной спиртом, уайт–спиритом или бензином БР – 1.

     

    8. Измерение параметров, регулировка и настройка.

    Измерение параметров и регулировка выключателя ВК-10 производится при подготовке его к работе или после полной и частичной разборки и сборки полюсов или привода.
    В процессе регулировки выключателя включения и отключения производить только вручную при помощи рычага ручного включения.


    Привод выключателя рекомендуется регулировать в процессе сборки в такой последовательности:
    1. Натяжение пружин 74 (рис. 5) регулируется винтами 26 таким образом, чтобы зазоры между торцом пружин и швеллером 34 были: для верхней пружины – 3 мм, для нижней – 10 мм.
    2. Гарантированный зазор между зубом собачки 45 или 1 (рис. 12), находящейся в крайнем положении, и зубом храпового колеса 2 при полном зацеплении зуба собачки 3 с этим колесом в процессе работы должен быть 0,5±0,20,1 мм. Для получения этого зазора необходимо выполнить следующие операции: установить рычаг ручного включения и при отключенном положении выключателя повернуть рычаг по часовой стрелке до упора, при этом происходит неполная заводка пружин привода; в дополнительные отверстия швеллера 48 (рис. 5) вставить два регулировочных винта М 8х20; ослабить винты 49; регулировочными винтами выставить зазор; вывернуть поочередно винты 49, установить между держателем 47 и швеллером 48 шайбы 50; ввернуть винты 49, предварительно смазав их резьбовую часть уплотняющей композицией ДН – 2; убрать регулировочные винты М 8х20.

     

    Рис.13. Механизм свободного расцепления.

    1 – шток буфера; 2 – кулачок; 3 – тяга; 4 – рычаг; 5 – вал; 6 – пружина; 7 – рычаг; 8 – пластина; 9 – рычаг; 10 – вал; 11 – амортизатор; 12 – раскос; 13 – болт.

     

    Отрегулировать механизм противоразрядного устройства рабочих пружин включения в отключенном положении выключателя с незаведенными рабочими пружинами привода, для чего необходимо установить зазор 0,3 – 0,4 мм между эксцентриком 7 и рычагом 81посредством болта 14 с гайкой 15.
    Проверить величину зазора в механизме свободного расцепления между рычагом между рычагом 7 (рис.13) и кулачком 2, который должен быть на более 0,7 мм. Регулировка производится смещением раскоса 12.
    Проверить величину зазора между болтом 11 (рис.1) и стержнем 13 притиворазрядного устройства, который должен быть 0,5…1 мм. Регулируется болтом, установленным на педали.

     

    Рис. 14. Определение включающего момента на валу механизмов полюсов.
    1 – вал механизма; 2 – ось; 3 – рычаг ручного включения; 4 – болт; 5 – шайба.

     

    Проверить зацепление собачек 1 и 17 (рис. 15) которое должно быть 3-0,5 мм. Регулируется болтом 5.

     


    Рис. 15. Блок реле токовых магнитов.
    1 – собачка; 2 – ось; 3 – скоба; 4 – гайка; 5 – болт; 6 – гайка; 7 – контрполюс; 8 – катушка; 9 – сердечник; 10 – магнитопровод; 11 – колодка; 12 – колодка; 13 – гильза; 14 – шток; 15 – пружина; 16 – пружина; 17 – собачка.

     

    Проверить величину зазора между рабочими кромками собачек 9 и 4 (рис. 16), который должен быть 1,5+0,5 мм. Регулируется в отключенном положении выключателя установкой пружины 7 на валу 2 после проверки натяжения отключающей пружины 21 (рис.1).
    Сочленить привод с механизмами полюсов регулируемой тягой 14 (рис.1) так, чтобы выход стержней из дугогасительных камер во всех полюсах был в пределах 29…32 мм.

     

    Рис. 16. Установка блок – реле токовых электромагнитов.
    1 – рычаг отключения; 2 – вал; 3 – рычаг; 4 – собачка; 5 – рычаг; 6 – шток; 7 – пружина; 8 – пружина; 9 – собачка.

     

    Проверить общий ход подвижного стержня, который должен быть 160-4 мм; при необходимости регулируется изменением количества шайб, установленных под масляным буфером 15 (рис. 1).


    Проверить натяжение отключающей пружины 21 (рис.1, вид С). Зазор между торцом отключающей пружины и упором рамы должен быть (28 ± 12) мм.


    Установит зазор 0,5…1 мм между рычагом механизма полюсов и болтом 22 (рис. 1).


    Максимальный включающий момент на валу механизмов полюсов выключателя замеряется при помощи рычага ручного включения 3 (рис. 14), закрепленного на валу, как показано на рисунке, и набора груза в следующем порядке:
    1. Выключатель установить в отключенное положение (привод не заведен).
    2. Вращая рычаг против часовой стрелки, подвести стержни до касания их с розеточными контактами.
    3. Навесить на рычаг груз такой величины, чтобы он создавал вместе с рычагом момент 235 Н*м для выключателей на номинальные токи 630 и 1000 А или 255 Н*м для выключателей на номинальные токи 1250 и 1600А.
    4. Груз освободить, при движении под собственным весом он должен включить выключатель до полного включенного положения (до посадки привода на защелки).


    Допускается максимальный включающий момент на валу механизма полюсов выключателя измерять при помощи динамометра; при этом рычаг в момент касания контактов должен занимать положение, близкое к вертикальному (рис.14).


    Если момент окажется больше указанных величин, необходимо проверить качество сборки полюсов (повышенное трение, перекосы), наличие смазки в соединениях рычагов механизмов, правильность установки отключающей пружины.


    Минимальный удерживающий момент на валу механизмов полюсов выключателя при отключении проверяется на участке хода подвижных стержней в розеточных контактах при помощи рычага ручного включения 3, закрепленного на валу в соответствии с рис. 14, и набора грузов в следующем порядке:
    1. Выключатель установить в отключенное положение (привод не заведен).
    2. Вращая рычаг против часовой стрелки, включить выключатель до посадки привода на защелку.
    3. Навесить на рычаг груз такой величины, чтобы он создавал вместе с рычагом момент 40 Н*м.
    4. Удерживая за рычаг, нажать кнопку отключения привода. При отпускании рычага выключатель должен отключиться до полного выхода подвижных стержней из розеточных контактов.


    Допускается производить замер минимального удерживающего момента при отключении с помощью динамометра; при этом рычаг при включенном положении выключателя должен занимать положение, близкое к вертикальному (рис. 14).


    Если момент окажется меньше указанных величин, необходимо проверить натяжение отключающих пружин.

     

    Рис. 17. Сектор для замера скоростей.

     

    Скорость подвижных стержней при включении и отключении выключателя замеряется электромагнитным вибрографом и сектором (рис. 17). Для замера скоростей закрепить на секторе плотную бумагу шириной 30 мм, установить сектор на вал механизмов полюсов, закрепив его болтом М 8 х 10 с шайбой. Завести включающие пружины привода. При помощи вибрографа записать по три виброграммы на включение и отключение. Пример определения скоростей по виброграмме приведен на рисунке 18.

     

    Рис. 18. Определение скоростей по виброграмме.
    I – выключатель отключен; II – выключатель включен; III – включение; IV – отключение.

     

    V = (м/с)


    Если скорости не соответствуют норме, необходимо проверить регулировку выключателя, а также отсутствие затирание подвижных элементов и наличие смазки на трущихся поверхностях, или изменить натяжения отключающей пружины 21 (рис. 1), варьируя размер 28 мм в пределах ± 12 мм.
    Скорости движения подвижных стержней должны соответствовать данным таблицы №2.

     

    таблица №2.


    Номинальный ток отключения, кА

    Номинальный ток, А

    Скорость движения подвижных стержней, м/с

    при включении, не менее

    при отключении

    20

    630; 1000

    3,5

    2,3 +0,4

    1250; 1600

    3,2

    2,1 +0,4

    31,5

    630; 1000

    4,2

    2,3 +0,4

    1250;1600

    4,0

    2,1 +0,4

     

    Электрическое сопротивление токопровода каждого полюса замеряется между верхними и нижними выводами без втычных контактов при помощи микроомметра с классом точности не ниже 3,5
    Данные замера должны соответствовать табл. 3.

    таблица №3.


    Номинальный ток (А), климатическое исполнение и категория размещения выключателя.

    ВК – 10

    ВК – 10А

    сопротивление, мкОм, не более

    630 У2

    45

    50

    1000 У2, 630 Т3

    40

    45

    1600 У2, 1250 Т3

    25

    30

     

    Проверка работы блокировочных устройств:
    1. Произвести заводку рабочих пружин привода рукояткой ручной заводки или посредством электродвигателя с редуктором. Убедиться, что при полной заводке, при переходе вала 41 (рис.5) кривошипа через мертвую точку, заводные собачки 45 и 46 вышли из зацепления с храповым колесом 43, цепь питания электродвигателя разорвана блок – контактами SQM.
    2. Проверить невозможность включения привода при включенном выключателе и полностью заведенных рабочих пружинах, а также при отключенном выключателе и не полностью заведенном приводе при воздействии на кнопку ручного включения или от ключа управления.
    3. Проверить работу противозарядного устройства рабочих пружин привода. При нажатии на педаль в отключенном положении выключателя рычаг посредством кулачка 2 (рис.5) должен запирать кулачок включения 17 прежде, чем эксцентрик сообщит движение рычагу 81.
    4. Проверить работу блок – замка. При вставленном в блок – замок и повернутом против часовой стрелки ключе не должно происходить ручное (от кнопки) или дистанционное (от электромагнита) включение выключателя. При включенном положении выключателя невозможно вставить и повернуть ключ блок – замка.
    5. Проверить работу механизма свободного расцепления при отключенном выключателе, для чего следует надеть на первичный вал привода рычаг ручного включения, завести пружинный привод, повернуть рычаг против часовой стрелки на угол » 20° и подать команду на отключение.
    Выключатель должен отключиться. Затем повторить проверку, поворачивая рычаг на 40, 60 и 80°. Выключатель должен отключаться из любого положения.
    6. Проверить работу электрической блокировки (блокировочное реле) «против прыганья», для чего необходимо завести включающие пружины привода при включенном выключателе. Затем одновременно подать напряжение: длительно на электромагнит включения и кратковременно на электромагнит отключения. При этом повторное включение выключателя не должно происходить.

     

    9. Техническое обслуживание выключателя.

    При эксплуатации выключателя необходимо следить, чтобы рабочие напряжение и ток нагрузки не превышали нормированных величин.
    Следить за уровнем масла в полюсах, который не должен опускаться ниже нижней черты маслоуказателя.
    Ввиду того, что масло служит для гашения дуги и только частично изолирует разрыв фазы, его можно использовать в почерневшем виде. Масло следует заменить если оно имеет пробивную мощность ниже 15 кВ.
    В процессе эксплуатации должны производиться осмотры выключателя, текущие и капитальные ремонты.

     

    Осмотр выключателя должен производиться не реже одного раза в месяц. При осмотре выключателя необходимо выполнять такие проверки:
    1. произвести внешний осмотр выключателя и убедиться в отсутствии загрязнения его наружных частей, особенно изоляционных деталей;
    2. убедиться в отсутствии трещин на изоляционных деталях;
    3. Убедиться в отсутствии выброса масла и следов течи через уплотнения в полюсах
    4. проверить уровень масла в полюсах;
    5. произвести внешний осмотр контактных соединений и убедиться в отсутствии признаков чрезмерного нагрева подводящих шин.

     

    Текущий ремонт выключателя должен проводиться ежегодно. При текущем ремонте необходимо провести следующие работы:
    1) Слить масло, снять розеточный контакт. Вынуть дугогасительную камеру, проверить их состояние, а также состояние розеточных контактов и подвижных контактных стержней. Если размыкающиеся контакты и камеры имеют несущественный износ, то достаточно произвести зачистку этих поверхностей напильником или мелкой наждачной бумагой, затем промыть трансформаторным маслом.
    2) Залить выключатель чистым трансформаторным маслом и убедиться в отсутствии течи масла через уплотнения.
    3) Проверить работу масляного буфера путем нажатия на шток.
    4) Произвести обтяжку болтовых соединений, проверить надежность крепления опорных изоляторов, рамы выключателя, полосы заземления.
    5) Произвести протирку фарфоровых изоляторов и изоляционных рычагов. Смазать контактные соединения смазкой. При необходимости восстановить смазку трущихся частей.
    6) Проверить регулировку выключателя, моменты. Замерить переходное сопротивление полюсов. Скорость движения подвижных контактов в момент включения и отключения выключателя.
    7) Произвести замер сопротивления изоляции первичной и вторичной цепи.
    8) Очистка, смазка трущихся частей, мелкий ремонт привода.
    9) Проверить работу выключателя включением и отключением его вхолостую со щита управления (дистанционно) и по ТУ.
    10) Оформление документации.

     

    Капитальный ремонт выключателя должен проводиться один раз в 6 – 8 лет, а также при наработке выключателем 3000 циклов «В» – «О», после выполнения суммарного включения и отключения номинального тока отключения 12 кА – 18 операций или 20 кА – 10 операций, или 31,5 кА – 7 операций. При капитальном ремонте необходимо произвести следующие работы:
    1) Отсоединить от выключателя подводящие шины и слить масло.
    2) Произвести полную разборку выключателя (кроме привода).
    3) Произвести протирку фарфоровых изоляторов и изоляционных рычагов. Очистить все детали от старой смазки и других загрязнений.
    4) Проверить все шарнирные соединения как в выключателе, так и дистанционной передаче, восстановить их до нормы (заменить), смазать.
    5) Проверить и при необходимости заменить крепежные детали.
    6) Промыть все внутренние полости цилиндров трансформаторным маслом.
    7) Произвести ремонт подвижных контактных стержней.
    8) Залить выключатель трансформаторным маслом, убедиться в отсутствии течей масла из полюсов и при необходимости подтянуть болтовые соединения.
    9) Произвести необходимые замеры переходного сопротивления, скоростных характеристик, момента. При необходимости произвести регулировку выключателя и дистанционной передачи.
    10) При необходимости восстановить окраску.
    11) Произвести высоковольтные испытания выключателя.
    12) Проверить работу выключателя включением и отключением его вхолостую со щита управления (дистанционно) и по ТУ.
    13) Оформление документации.
    При проведении текущего ремонта выключателя замеренные характеристики указываются в тексте ремонтной карты, например: «Произведен текущий ремонт выключателя согласно технологической карты №…. (указать выполненные пункты). Переходное сопротивление – ф.А =…, ф.В = …, ф. С = …, скорость включения - … м/с, скорость отключения - … м/с, момент при включении - …, отключении - …, сопротивление изоляции: первичной цепи - …. МОм, вторичной цепи - …. МОм (ФИО, подпись руководителя ремонта, состав бригады)». При проведении капитального ремонта выключателя выполняется запись в ремонтной карточке о проведении ремонта и замеренные характеристики записываются в карточку проведения ремонта (Приложение №1) – заполняются все строки карточки.
    При несоответствии измеренных характеристик выключателя при текущем ремонте нормам, указанным в таблице приложения №1, выключатель необходимо вывести во внеочередной капитальный ремонт.

     

    10. Меры безопасности при эксплуатации выключателя.

    Персонал обслуживающий выключатели, должен знать их устройство и принцип работы, должен быть ознакомлен с настоящей инструкцией и строго соблюдать ее требования.
    Рама выключателя должна быть надежно соединена заземляющим контактом 2 рисунок 1 с корпусом КРУ.
    Фасадная металлическая перегородка выключателя должна иметь надежное электрическое соединение с рамой (основанием).
    При осмотре выключателя в рабочем положении в КРУ следует помнить, что полюсы выключателя находятся под высоким напряжением, поэтому запрещается проникать любыми предметами в зону, расположенную за фасадной металлической перегородкой.
    Регулировка и ремонт выключателя производится только при отсутствии напряжения на обоих выводах полюсов, в цепях вторичной коммутации и при незаведенных рабочих пружинах привода. Пружины привода никогда не следует заводить до установки привода на выключатель и сочленения с механизмами полюсов, т. к. механизмы привода с заведенными пружинами очень опасны.
    Рычаг для ручного неоперативного включения выключателей нельзя оставлять на валу привода или полюса.
    Замер момента на валу выключателя производится только при незаведенных включающих пружинах привода.
    Оперативное включение и отключение выключателя должно производиться только дистанционно.

     

    Приложение №1

     

    Характеристики выключателя типа ВК – 10.

     

    № п/п

    Характеристика выключателя

    норма

    Дата проведения ремонта.

     

     

     

     

     

     

     

    1

    Полный ход контактного стержня, мм

    160-4

     

     

     

     

     

     

     

    2

    Ход контактного стержня в розетке, мм

    45±5

     

     

     

     

     

     

     

    3

    Скорость движения контактных стержней при отключении, м/с:
    - в момент расхождения

     

    2,3 +0,4
    (2,1 +0,4)*

     

     

     

     

     

     

     

    4

    Скорость движения контактных стержней при включении, м/с:
    - в момент включения, не менее

    3,5
    (3,2)*

     

     

     

     

     

     

     

    5

    Максимальный включающий момент на валу выключателя, Н*м, не более

     

    235 (255)*

     

     

     

     

     

     

     

    6

    Минимальный удерживающий момент на валу выключателя, Н*м, не более

     

    40

     

     

     

     

     

     

     

    7

    Полное сопротивление токопровода выключателя, мкОм, не более
    - на 630 А
    - на 1000 А
    - на 1600 А

     

     

    45
    40
    25

     

     

     

     

     

     

     

    8

    Выход стержней из дугогасительных камер, мм

     

    29 +3

     

     

     

     

     

     

     

    9

    Зазор между торцом отключающей пружины и упором рамы, мм

     

    28±12

     

     

     

     

     

     

     

    10

    Сопротивление изоляции, МОм, не менее:
    - первичной цепи
    - вторичной цепи

     

    300
    1

     

     

     

     

     

     

     

    11

    Подпись руководителя ремонта

     

     

     

     

     

     

     

     

     

    * - характеристика указанная для выключателя номинальным током 1250А и 1600А.

Продолжая пользоваться сайтом, Вы соглашаетесь на обработку файлов cookie в соответствии с пользовательским соглашением и политикой конфиденциальности
Нужен кабель? Оформи заявку бесплатно